【产品用途】
XD371X信号蝶阀适用于消防系统中控制阀门,要求常开的场合,当阀门开或关到指定位置时,阀门上的信号装置便可发出信号送至消防检测中心可以显示出蝶阀开启或关闭,以防止阀门误关闭而影响自动喷水灭火功能。
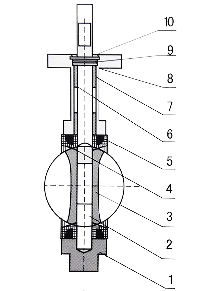
【结构示意图】

图中标注数字注释:1表示阀体,2表示阀轴,3表示蝶板,4表示阀座,5表示填料,6表示衬套,7表示密封圈,8表示圆垫片,9表示对开环,10表示挡圈。
【性能参数】
| 信号蝶阀型号 | XD371X-10 | XD371X-16 | |
| 工作压力(MPa) | 1.0 | 1.6 | |
| 适用温度(℃) | ≤65℃ | ||
| 适用介质 | 水等 | ||
| 材料 | 阀体 | 铸铁 | |
| 蝶板 | 球墨铸铁(表面尼龙覆层) | ||
| 阀杆 | 铬不锈钢 | ||
| 阀座 | 丁晴橡胶 | ||
| 填料 | O形橡胶圈 | ||
| XD371X-10信号蝶阀 | ||||||||
| 通径(mm) | L | D | K |
n-Фd |
H | H1 | W | W1 |
| 50 | 43 | 165 | 125 |
4-Ф18 |
80 | 320 | 266 | 90 |
| 65 | 46 | 185 | 145 |
4-Ф18 |
89 | 330 | 266 | 90 |
| 80 | 46 | 200 | 160 |
8-Ф18 |
95 | 340 | 266 | 90 |
| 100 | 52 | 220 | 180 |
8-Ф18 |
114 | 360 | 266 | 90 |
| 125 | 56 | 250 | 210 |
8-Ф18 |
127 | 380 | 266 | 90 |
| 150 | 56 | 285 | 240 |
8-Ф22 |
139 | 390 | 266 | 90 |
| 200 | 60 | 340 | 295 |
8-Ф22 |
175 | 525 | 125 | 90 |
| 250 | 68 | 395 | 350 |
12-Ф22 |
203 | 555 | 125 | 90 |
| 300 | 78 | 445 | 400 |
12-Ф22 |
243 | 610 | 190 | 90 |

Copyright © 热力(上海)阀门制造有限公司 www.rlshfm.com 版权所有 沪ICP备16044061号 SEO支持:丹若科技
全国服务电话:15901990488
021-57520210 传真:15901990488
公司地址:上海市奉贤区浦卫公路1602、1626号202室
网站:http://www.rlshfm.com/